最新消息
破壞型一次式安全針筒
| 編號 | 103007 |
| 專利名稱 | 破壞型一次式安全針筒 |
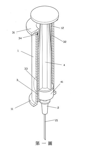
| 摘要 | 一種破壞型一次式安全針筒,特指一種藉由增設一具內齒單元之外筒與具外齒單元及破壞導槽之內筒,外筒之內齒單元與內筒之外齒單元囓合,藉由鋸齒狀齒型之單向移動特性,以限制外筒在拉離內筒以包覆針頭後即無法再次推回,並且利用破壞導槽在外筒拉動之同時形成一永久性破壞之破裂溝槽,除產生保護作用免於針扎之危險外,亦可杜絕針筒再次回收使用之感染危險。 |
| 產業別 | |
| 應用範圍 | |
| 合作方式 | 【讓與】、【授權】 |
※如您對此技術有興趣,請與我們聯絡。(02)7707-5009 ; atawu@inno.org.tw
分享
